Manuál pro přípravu před stavbou sportovišť a dětských hřišť
Colmex – venkovní fitness hřiště, street workout, dětská hřiště a parkour
1. Úvod
Tento manuál vám poskytne všechny potřebné informace pro přípravu místa před stavbou vašeho nového sportoviště nebo hřiště. Dodržení těchto pokynů je klíčové pro hladký průběh realizace a splnění veškerých bezpečnostních norem (ČSN EN 16630, ČSN 16899, ČSN EN 1176, ČSN EN 1177).
2. Typy projektů a jejich specifika
Street workout
- Certifikováno dle normy ČSN EN 16630 a ČSN EN 1177.
- Dopadová plocha je povinná, pokud výška volného pádu přesahuje 1,5 m.
- Možnosti dopadových ploch:
- Litá pryž: Dopadová výška do 3,5 m.
- Pryžové dlaždice: Dopadová výška do 2,7 m.
- Gumová zatravňovací rohož: Dopadová výška do 3 m.
- Trávník: Dopadová výška do 1,5 m (nutná pravidelná údržba).
- Dlažba: Dopadován výška do 0,5 m.
Fitness stroje
- Normy: ČSN EN 16630 a ČSN EN 1177.
- Bezpečnostní zóny: 1,5 m od všech stran stroje (prostor se může částečně překrývat).
- Dopadová plocha není povinná, pokud výška volného pádu nepřesahuje 0,5 m.
- Stroje skladem, doprava zajištěna dle domluvy.
Dětská hřiště
- Normy: ČSN EN 1176 a ČSN EN 1177.
- Instalace na trávník je možná pro všechna zažízení s výškou pádu do 1 m.
- Povinné dopadové plochy pro všechna zařízení s výškou pádu nad 1 m.
- Možnosti povrchů:
- Litá pryž, gumové dlaždice, kačírek, písek, nebo dřevěné štěpky.
Parkour
- Normy: ČSN EN 16899 a ČSN EN 1177.
- Překážky s výškou do 1,6 m mohou být instalovány na jakýkoliv povrch.
- Povinné dopadové plochy pro všechna zařízení s výškou pádu nad 1,6 m.
- Možnosti povrchů:
- Litá pryž, gumové dlaždice, kačírek, písek, nebo dřevěné štěpky.
3. Typy dopadových ploch
| Typ povrchu | Kritická výška pádu | Popis |
| Litá pryž (EPDM, SBR) | Až 3,5 m | Bezešvý povrch, minimální údržba, ideální pro frekventovaná hřiště. |
| Gumová zatravňovací rohož | Až 3 m | Jednoduchá pokládka, ekologické a bezpečné řešení. |
| Trávník | Až 1,5 m WO/až 1 m DH | Ekologická varianta, nutná pravidelná údržba. |
| Kačírek/písek | Až 3 m | Levná varianta, nevhodná pro pevnou stabilitu. |
| Dřevěné štěpky/kůra | Až 3 m | Přírodní vzhled, vhodné pro méně frekventovaná hřiště, nevhodné na údržbu. |
| Pryžová dlažba | Až 3 m | Minimální údržba, ideální pro frekventovaná hřiště. |
Poměr ceny a požadavků na kritické výšky pádu splňuje nejlépe gumová zatravňovací rohož.
4. Příprava pozemku před stavbou
4.1. Trávník
Výběr správného místa
- Rovný terén:
- Instalace je naceňována pro rovný posekaný terén. Ke zhodnocení vhodnosti místa pro instalaci můžete poslat foto.
- Dostatečný prostor:
- Bezpečnostní zóny (min. 1,5 m od zařízení).
- Doporučený volný prostor mezi fitness stroji: min. 2 m.
Povrchová příprava
- Odstranění vegetace:
- Odstraňte trávu, drny, plevel a další vegetaci z místa realizace.
- Odvodnění:
- V případě potřeby upravte terén tak, aby voda odtékala mimo oblast stavby.
- Vyrovnání terénu pro pokládku lité pryže, pryžové dlažby a gumové zatravňovací rohože:
- V případě zájmu o zcela rovný povrch navezte novou zeminu, povrch zválcujte, nechte slehnout vlastní vahou, po cca třech týdnech zválcujte a zatravněte.
- Hřiště lze instalovat i na mírně zvlněném, přirozeně rostlém povrchu. Je tedy možné tento krok vynechat.
4.2. Gumová zatravňovací rohož
Výběr správného místa
- Rovný terén:
- Instalace je naceňována pro rovný posekaný terén. Ke zhodnocení vhodnosti místa pro instalaci můžete poslat foto.
- Dostatečný prostor:
- Bezpečnostní zóny (min. 1,5 m od zařízení).
- Doporučený volný prostor mezi fitness stroji: min. 2 m.
Povrchová příprava
- Odstranění vegetace:
- Odstraňte trávu, drny, plevel a další vegetaci z místa realizace.
- Odvodnění:
- V případě potřeby upravte terén tak, aby voda odtékala mimo oblast stavby.
- Vyrovnání terénu
- V případě zájmu o zcela rovný povrch navezte novou zeminu, povrch zválcujte, nechte slehnout vlastní vahou, po cca třech týdnech zválcujte a zatravněte.
- Pokládku gumových zatravňovacích rohoží lze provést i na mírně zvlněném, přirozeně rostlém povrchu. Je tedy možné tento krok vynechat. Nicméně gumová zatravňovací rohož přesně kopíruje terén, což bude patrné na výsledné ploše. Viditelné zvlnění ovšem nemá žádný vliv na tlumící funkci dopadové plochy.
4.3. Sypké dopadové plochy (kačírek/písek, dřevěná štěpka/kůra)
Výběr správného místa
- Terén:
- Terén nemusíte zcela rovnat. Bude proveden výkop, kterým se terén srovná.
- Dostatečný prostor:
- Bezpečnostní zóny (min. 1,5 m od zařízení).
- Doporučený volný prostor mezi fitness stroji: min. 2 m.
Povrchová příprava
- Výkop:
- Výkop proveďte minimálně do hloubky 30 cm v závislosti na výšce pádu instalovaných prvků. Ke zhodnocení potřebné hloubky výkopu kontaktujte obchodního manažera. Prostor je možné ohraničit betonovými obrubníky zasazenými do betonového lože. Není to ale nutné, běžně se tyto druhy dopadových ploch používají i bez ohraničení.
- Odvodnění:
- V případě potřeby upravte terén tak, aby voda odtékala mimo oblast stavby.
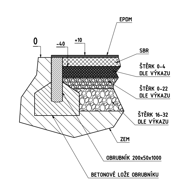
4.4. Litá pryž (EPDM, SBR) / Pryžová dlažba
Výběr správného místa
- Terén:
- Terén nemusíte zcela rovnat. Bude proveden výkop, kterým se terén srovná.
- Dostatečný prostor:
- Bezpečnostní zóny (min. 1,5 m od zařízení).
- Doporučený volný prostor mezi fitness stroji: min. 2 m.
Povrchová příprava
- Výkop:
- Výkop proveďte minimálně do hloubky 20 – 30 cm. Prostor je nutné ohraničit betonovými obrubníky zasazenými do betonového lože.
- Spodní stavba:
- Doporučené materiály pro základní vyrovnání:
- Štěrk (frakce 16/32 mm o mocnosti 10-15 cm): Zajišťuje stabilitu a drenáž.
- Geotextilie: Brání prorůstání plevelů, není nutná.
- Připravte zhutněné štěrkové lože ve dvou až třech frakcích, které je nejpoužívanějším doporučeným materiálem. V některých případech je možné využít jako podklad spodní stavby betonovou desku.
- Pokud budete spodní stavbu provádět svépomocí, kontaktujte obchodního manažera. Vyhotovíme vám zdarma výkresy pro bezproblémové provedení spodní stavby.
- Příklad řezu spodní stavbou najdete na obrázku níže.
- Doporučené materiály pro základní vyrovnání:
- Odvodnění:
- V případě potřeby upravte terén tak, aby voda odtékala mimo oblast stavby.

Mocnost SBR se může lišit v závislosti na výšce pádu.
5. Přístupové cesty a logistika
- Přístupové cesty:
- Maximální vzdálenost parkování dodávky od staveniště: 25 m.
- Uzavření staveniště:
- Po dobu stavby je prostor uzavřen pro veřejnost.
- Při lití pryže je staveniště ohrazeno.
6. Časový harmonogram
- Časový plán je stanoven smlouvou o dílo.
- Realizace může být zpožděna v případě nepříznivých klimatických podmínek (např. mráz při lití pryže).
7. Důležitá upozornění
- Vícepráce nejsou zahrnuty v cenové nabídce, pokud:
- Povrch není řádně připraven (nerovnosti, podmáčená půda, případné ztížené povrchy – skála, navážka, nadměrný kořen).
- Chybí přístupové cesty v maximální vzdálenosti 25 m.
- Navýšení ceny projektu:
- Vícepráce spojené s dodatečnou úpravou povrchu nebo jinými komplikacemi budou účtovány zvlášť.
8. Údržba a kontrola
- Pravidelná kontrola:
- Zajištění bezpečnosti zařízení.
- Provozovatel je povinen provést roční hlavní kontrolu (službu nabízíme).
- Záruka:
- Nevztahuje se na zařízení bez prokazatelně prováděných pravidelných kontrol.
9. Kontakty a konzultace
- Pro bližší informace a konzultace kontaktujte obchodního manažera uvedeného v objednávce.
Ke stažení v PDF zde: Manuál – stavba COLMEX
Hlubočinka
Dne 10.12.2024